Adaptér pro Frankia na markýzy Thule řady 5/8 délka 5 m
Dostupné nabídky (1)
Porovnejte ceny a vyberte nejlepší nabídku
Popis
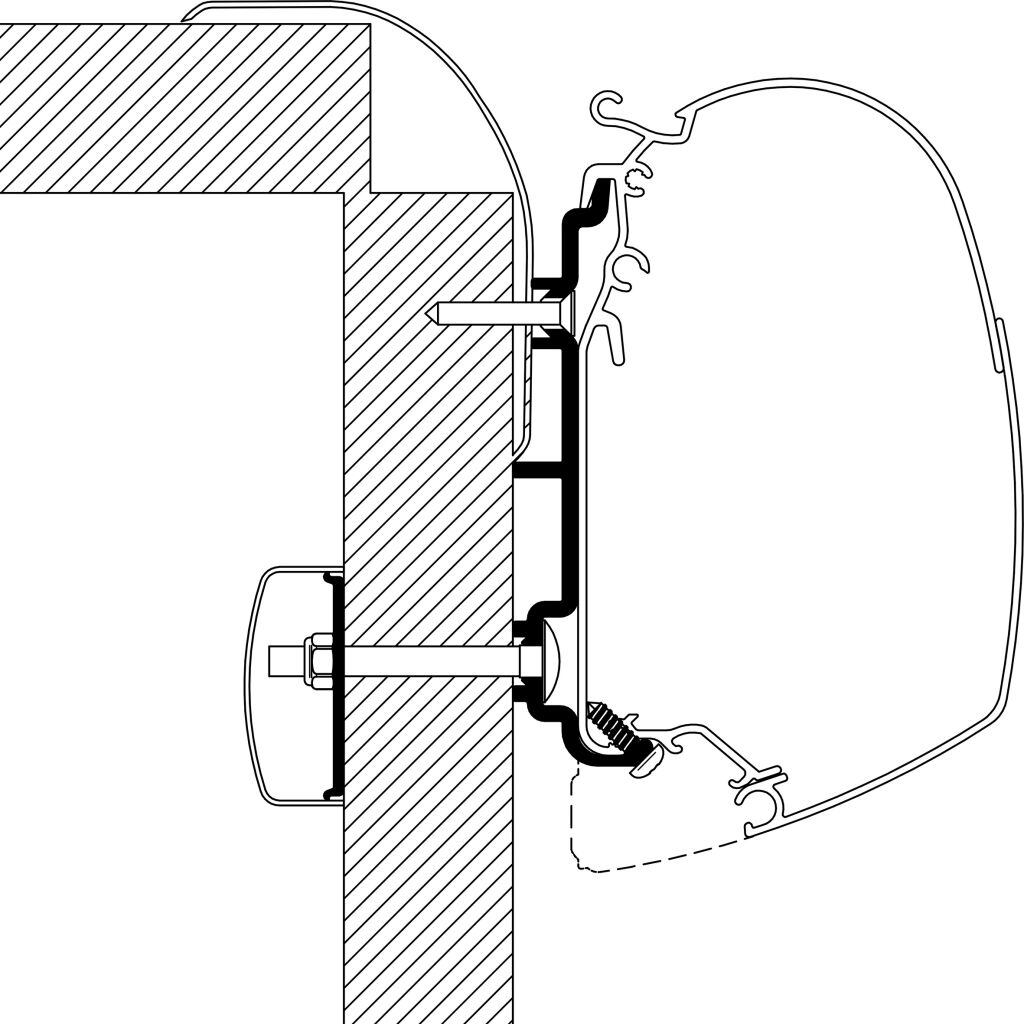
Montážní držák markýzy pro obytné vozyAdaptér slouží pro upevnění nástěnných markýz Thule Omnistor řady 5 a 8 na všechny modely obytných vozů značky Frankia. Držák je k dispozici v různých délkách.Seznam markýz naleznete v příslušenství.Klíčové vlastnosti adaptéru Frankia pro markýzy Thule Omnistor řady 5, 8:Slouží k upevnění nástěnných markýz Thule Omnistor řady 5 a 8.Adaptér Frankia můžete použít na všechny modely obytných vozů Frankia.Držák je k dispozici v různých délkách.Parametry adaptéru Frankia pro markýzy Thule Omnistor řady 5, 8:varianta:90 77190 77290 77390 77490 77590 776počet profilů:1 ks1 ks1 ks1 ks1 ks1 ksdélka:3,5 m4 m4,5 m5 m5,5 m6 mrozměry balení:341 × 13 × 10 cm391 × 13 × 10 cm441 × 13 × 10 cm491 × 13 × 10 cm541 × 13 × 10 cm591 × 13 × 10 cmhmotnost:7,5 kg8 kg8,5 kg9 kg10 kg10 kg




