Adaptér pro Hymer Exsis, Camp na markýzy Thule řady 5/8 délka 5,5 m verze Hymer Exsis / Hymer Camp (2012–....)
Dostupné nabídky (1)
Porovnejte ceny a vyberte nejlepší nabídku
Popis
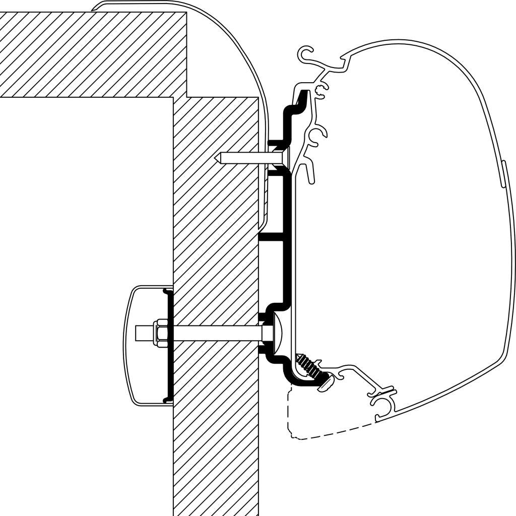
Adaptér pro markýzy na bok obytného vozuDržák k uchycení markýzy Thule Omnistor 5. a 8. série na obytné vozy Hymer Exsis a Camp tvoří jeden profil. Adaptér je určen na bok obytných vozů vyrobených do roku 2011 a pro stejné modely vyrobené po roce 2012 až po současnost.U modelů vyrobených do roku 2011 je dostupný adaptér pouze o délce 6 m. U novějších modelů vyrobených po roce 2012 si můžete vybrat mezi délkou profilu 2,6 či 5,5 m.Seznam markýz naleznete v příslušenství.Klíčové vlastnosti adaptéru pro Hymer Exsis/Camp:Slouží k uchycení markýzy Thule Omnistor řady 5 a 8 pro obytné vozy Hymer Exsis/Campl.Adaptér se montuje na bok obytných vozů.K dispozici jsou 2 varianty.Parametry adaptéru pro Hymer Exsis/Camp:varianta:90 700 (od roku 2012)90 706 (od roku 2012)89 855 (do roku 2012)počet adaptérů:1 ks1 ks1 ksdélka:2,6 m5,5 m6 mrozměry balení:262 × 13 × 10 cm537 × 13 × 10 cm589 × 13 × 10 cmhmotnost:7 kg10 kg10 kg




